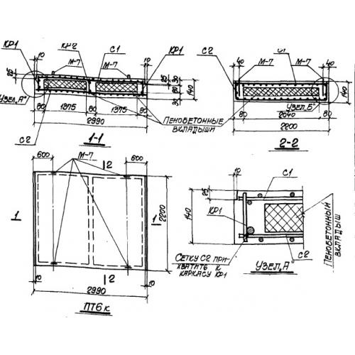
ПТ 6
Характеристики изделия:
| Параметр | Значение |
|---|---|
| длина | 2990 мм |
| ширина | 2200 мм |
| высота | 140 мм |
| вес | 1400 кг |
| серия | ХТР 1-1 |
Цена:
Рассчитать стоимостьПТ 6 Плиты перекрытий по серии ХТР 1-1.
| Параметр | Значение |
|---|---|
| длина | 2990 мм |
| ширина | 2200 мм |
| высота | 140 мм |
| вес | 1400 кг |
| серия | ХТР 1-1 |
ПТ 6 Плиты перекрытий по серии ХТР 1-1.
