ТБ

Чертеж изделия:
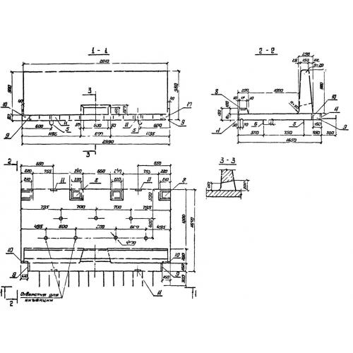
Характеристики изделия:
ПараметрЗначение
длина2990 мм
ширина1650 мм
высота980 мм
вес2500 кг
серия3.503-44

ТБ Тротуарные блоки по серии 3.503-44.