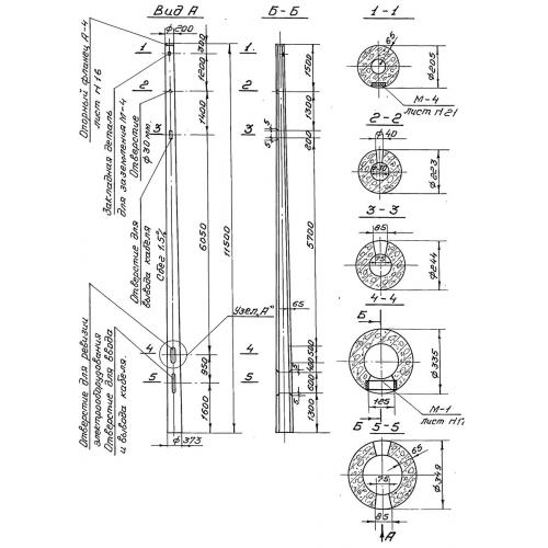
СНЦс 3.4-11.5 Стойки центрифугированные

Чертеж изделия:
Характеристики изделия:
ПараметрЗначение
длина11500 мм
ширина373 мм
высота373 мм
масса1400 кг
нормативный документСерия 3.320-1

СНЦс 3.4-11.5  Центрифугированные стойки наружного освещения Серия 3.320-1.