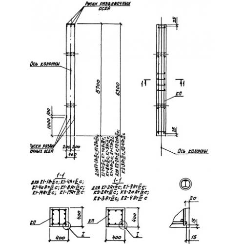
К 6

Чертеж изделия:
Характеристики изделия:
ПараметрЗначение
длина6300 мм
ширина500 мм
высота400 мм
масса3200 кг
нормативный документСерия 3.015-3/92

К 6  Колонны Серия 3.015-3/92.