ПК 62.15 Плиты перекрытия железобетонные многопустотные

Чертеж изделия:
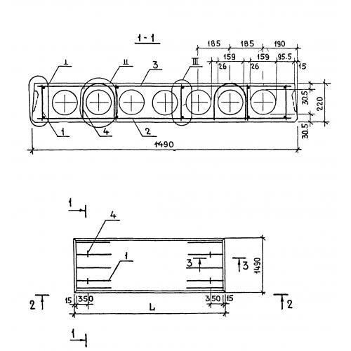
Характеристики изделия:
ПараметрЗначение
длина6160 мм
ширина1490 мм
высота220 мм
масса2894 кг
нормативный документСерия 1.141-1

ПК 62.15  Плиты перекрытия железобетонные многопустотные Серия 1.141-1.