ПК 48.12 Плиты перекрытия железобетонные многопустотные

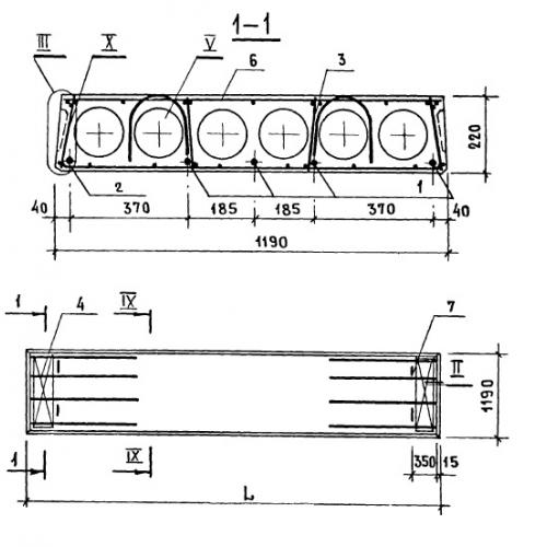
Чертеж изделия:
Характеристики изделия:
ПараметрЗначение
длина4780 мм
ширина1190 мм
высота220 мм
масса1700 кг
нормативный документСерия 1.141-1

ПК 48.12  Плиты перекрытия железобетонные многопустотные Серия 1.141-1.