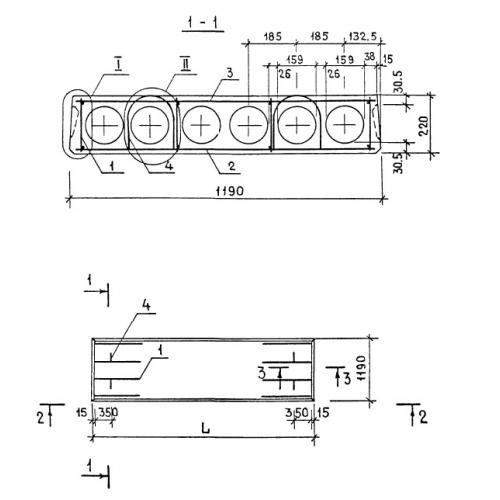
ПК 42.12 Плиты перекрытия железобетонные многопустотные
Характеристики изделия:
| Параметр | Значение |
|---|---|
| длина | 4180 мм |
| ширина | 1190 мм |
| высота | 220 мм |
| масса | 1490 кг |
| нормативный документ | Серия 1.141-1 |
Цена:
Рассчитать стоимостьПК 42.12 Плиты перекрытия железобетонные многопустотные Серия 1.141-1.
