КВБ 20.12

Чертеж изделия:
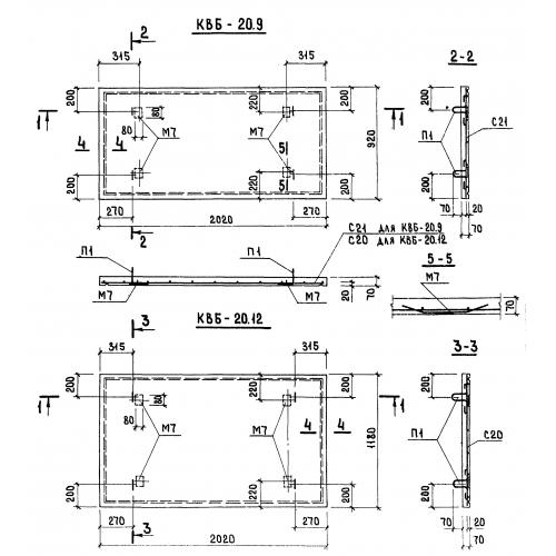
Характеристики изделия:
ПараметрЗначение
длина2020 мм
ширина1180 мм
высота70 мм
вес420 кг
серия1.134-3

КВБ 20.12 Крышки вентиляционного блока по серии 1.134-3.