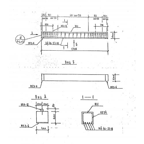
Б 53

Чертеж изделия:
Характеристики изделия:
ПараметрЗначение
длина5300 мм
ширина400 мм
высота400 мм
вес2130 кг
серия1.125 КЛ-3.

Б 53 Балки по серии 1.125 КЛ-3.