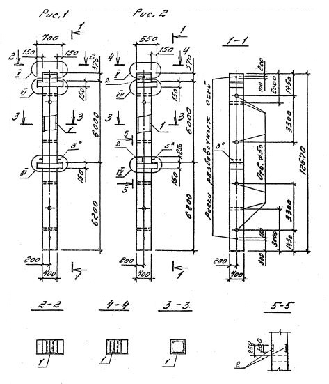
2КБД 60.60

Чертеж изделия:
Характеристики изделия:
ПараметрЗначение
длина12570 мм
ширина400 мм
высота700 мм
масса5120 кг
нормативный документСерия 1.020.1-4

2КБД 60.60    Колонны  бесстыковые двухконсольные (Серия 1.020.1-4).

Маркировка включает высоту этажей (дм), диаметры угловых и промежуточных стержней арматуры (мм), марку бетона:

2КБД 60.60-3.20.00

2КБД 60.60-3.22.00

2КБД 60.60-3.25.00

2КБД 60.60-3.28.00