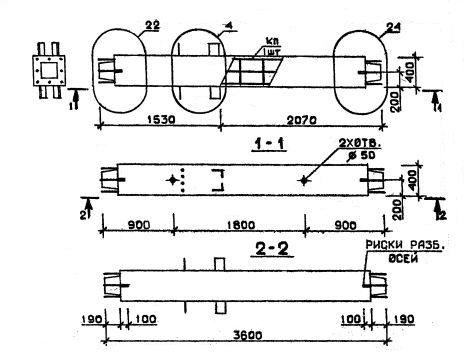
КС 36

Чертеж изделия:
Характеристики изделия:
ПараметрЗначение
длина3600 мм
ширина400 мм
высота400 мм
масса1439 кг
нормативный документСерия 1.020.1-2с/89

КС 36  Колонны средние Серия 1.020.1-2с/89.