СКЦ 2

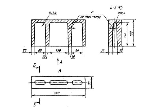
Чертеж изделия:
Характеристики изделия:
ПараметрЗначение
длина390 мм
ширина90 мм
высота188 мм
масса14 кг
нормативный документГОСТ 6133-84

СКЦ 2  Камень стеновой  продольная половина на цементном вяжущем ГОСТ 6133-84.