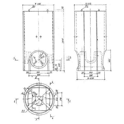
КЛ 12 рабочие камеры канализационных колодцев

Чертеж изделия:
Характеристики изделия:
ПараметрЗначение
длина1410 мм
ширина1410 мм
высота2630 мм
масса3000 кг
нормативный документАльбом РК 2201-82

КЛ 12  Рабочие камеры канализационных колодцев Альбом РК 2201-82.